Способы разработки россыпей

Продольная и поперечная система разработки. Россыпные месторождения золота схема. Гидравлический способ. План отработки россыпного месторождения. Способы разработки россыпей.
Продольная и поперечная система разработки. Россыпные месторождения золота схема. Гидравлический способ. План отработки россыпного месторождения. Способы разработки россыпей.
Способы разработки россыпей. Раздельный способ разработки. Схема разработки россыпного золота. Схемы разработки аллювиальных месторождений. Схема разработки россыпи.
Способы разработки россыпей. Раздельный способ разработки. Схема разработки россыпного золота. Схемы разработки аллювиальных месторождений. Схема разработки россыпи.
Схема гидравлической разработки россыпи. Разработка траншеи роторным экскаватором трубопровода чертеж. Схемы россыпных месторождений. Разработка россыпных месторождений золота открытым способом книги. Схемы вскрытия россыпных месторождений.
Схема гидравлической разработки россыпи. Разработка траншеи роторным экскаватором трубопровода чертеж. Схемы россыпных месторождений. Разработка россыпных месторождений золота открытым способом книги. Схемы вскрытия россыпных месторождений.
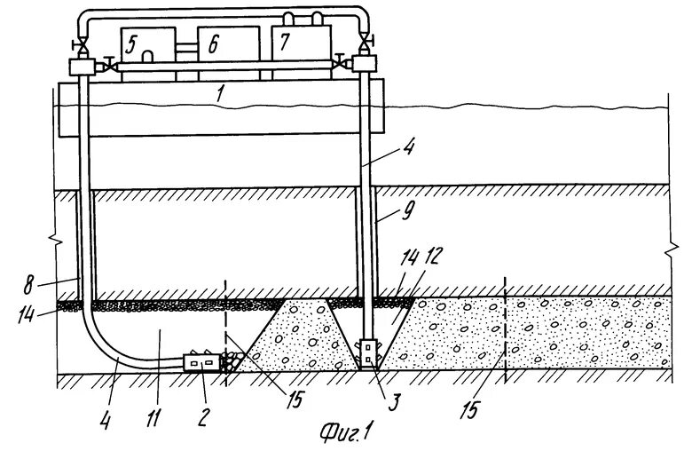
Технологическая схема скважинной гидродобычи. Способы разработки россыпей. Бульдозерно-скреперный способ разработки россыпных месторождений. Способы разработки россыпей. Гидромеханизированная разработка россыпей.
Технологическая схема скважинной гидродобычи. Способы разработки россыпей. Бульдозерно-скреперный способ разработки россыпных месторождений. Способы разработки россыпей. Гидромеханизированная разработка россыпей.
Разработка россыпных месторождений открытым способом. Технологическая схема разработки россыпного месторождения. Дражный способ разработки схема. Технологическая схема разработки россыпного месторождения. Схемы открытой разработки залежей.
Разработка россыпных месторождений открытым способом. Технологическая схема разработки россыпного месторождения. Дражный способ разработки схема. Технологическая схема разработки россыпного месторождения. Схемы открытой разработки залежей.
Скважинная гидродобыча золота. Схема разработки россыпи. Схема добычи расыпного золота. Способы разработки россыпей. Способы разработки россыпей.
Скважинная гидродобыча золота. Схема разработки россыпи. Схема добычи расыпного золота. Способы разработки россыпей. Способы разработки россыпей.
Экскаваторы способ разработки россыпей. Технология разработки россыпного золота dwg. Способы разработки россыпей. Технологическая схема разработки россыпного месторождения. Способы разработки россыпей.
Экскаваторы способ разработки россыпей. Технология разработки россыпного золота dwg. Способы разработки россыпей. Технологическая схема разработки россыпного месторождения. Способы разработки россыпей.
Схема добычи золота. Способы разработки россыпей. Схемы россыпных месторождений. Схемы дражной разработки россыпей. Схема гидравлической разработки россыпи.
Схема добычи золота. Способы разработки россыпей. Схемы россыпных месторождений. Схемы дражной разработки россыпей. Схема гидравлической разработки россыпи.
Способы разработки россыпей. Вскрытие россыпных месторождений. Схемы подготовительных работ на горных месторождений. Схема разработки россыпи. Схема разработки россыпного золота.
Способы разработки россыпей. Вскрытие россыпных месторождений. Схемы подготовительных работ на горных месторождений. Схема разработки россыпи. Схема разработки россыпного золота.
Бульдозерно скреперный способ разработки. Способы разработки россыпей. Гидравлическая разработка россыпей. Технологические схемы разработки россыпных месторождений. Схемы выемки пород драгой.
Бульдозерно скреперный способ разработки. Способы разработки россыпей. Гидравлическая разработка россыпей. Технологические схемы разработки россыпных месторождений. Схемы выемки пород драгой.
Системы разработки россыпного месторождения. Структура россыпного месторождения. Гидравлическая разработка россыпей. Способы разработки россыпей. Способы разработки россыпей.
Системы разработки россыпного месторождения. Структура россыпного месторождения. Гидравлическая разработка россыпей. Способы разработки россыпей. Способы разработки россыпей.
Гидромонитор чертеж. Схема разработки месторождения скрепером. Способы разработки россыпей. Схема разработки россыпи. Схемы дражной разработки россыпей.
Гидромонитор чертеж. Схема разработки месторождения скрепером. Способы разработки россыпей. Схема разработки россыпи. Схемы дражной разработки россыпей.
Схема дражной разработки золота. Схема добычи россыпных месторождений. Россыпные месторождения вскрыша бульдозерами. Схемы дражной разработки россыпей. Разработка россыпных месторождений в.
Схема дражной разработки золота. Схема добычи россыпных месторождений. Россыпные месторождения вскрыша бульдозерами. Схемы дражной разработки россыпей. Разработка россыпных месторождений в.
Схемы дражной разработки россыпей. Схема разработки россыпи. Схема разработки траншеи на россыпи. Схемы выемки пород драгой. Технологические схемы разработки россыпных месторождений.
Схемы дражной разработки россыпей. Схема разработки россыпи. Схема разработки траншеи на россыпи. Схемы выемки пород драгой. Технологические схемы разработки россыпных месторождений.
Схема разработки россыпного золота. Виды горных работ. Схема добычи расыпного золота. Способы разработки россыпей. Схемы разработки аллювиальных месторождений.
Схема разработки россыпного золота. Виды горных работ. Схема добычи расыпного золота. Способы разработки россыпей. Схемы разработки аллювиальных месторождений.
Схема разработки россыпи. Схема разработки месторождения скрепером. Лешков книга. Способы разработки россыпей. Пологие крутые залежи.
Схема разработки россыпи. Схема разработки месторождения скрепером. Лешков книга. Способы разработки россыпей. Пологие крутые залежи.
Схемы разработки аллювиальных месторождений. Способы разработки россыпей. Способы разработки россыпей. Технологические схемы дражного способа разработки россыпей. Вскрытие россыпных месторождений.
Схемы разработки аллювиальных месторождений. Способы разработки россыпей. Способы разработки россыпей. Технологические схемы дражного способа разработки россыпей. Вскрытие россыпных месторождений.
Схема россыпи плотик. Схема разработки россыпи. Дражный способ разработки схема. Разработка россыпей бульдозером. Схема разработки траншеи на россыпи.
Схема россыпи плотик. Схема разработки россыпи. Дражный способ разработки схема. Разработка россыпей бульдозером. Схема разработки траншеи на россыпи.
Технологические схемы разработки россыпных месторождений. Способы разработки россыпей. Способы разработки россыпей. 32. Схема отработки россыпного месторождения.
Технологические схемы разработки россыпных месторождений. Способы разработки россыпей. Способы разработки россыпей. 32. Схема отработки россыпного месторождения.
Разработка россыпей бульдозером. Схемы дражной разработки россыпей. Способы разработки россыпей. Схема разработки россыпи. Технологическая схема разработки россыпного месторождения.
Разработка россыпей бульдозером. Схемы дражной разработки россыпей. Способы разработки россыпей. Схема разработки россыпи. Технологическая схема разработки россыпного месторождения.